专利号:CN201420193219.3
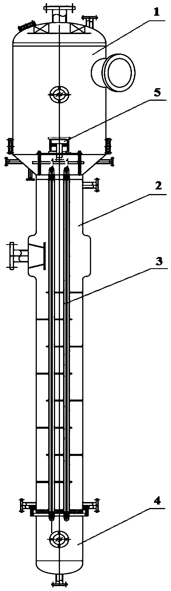
摘要:本实用新型公开了一种在线自动除垢蒸发器,包括连接在一起的进料上管箱、蒸发室以及结晶室,蒸发室内部设置有换热管,换热管内设有在线自动除垢装置,在线自动除垢装置包括安装在换热管内腔的除垢刮件,该除垢刮件紧贴所述换热管的内壁,并通过中心固定支架连接在中心连接轴上,管口连接支架中间设置有用来支撑中心连接轴的轴承,在线自动除垢装置由设置在蒸发室顶端的气缸提供动力,该气缸通过活塞杆与圆盘联动,圆盘作直线往复运动,在中心轴连接轴上端的螺旋杆配合下带动螺旋杆转动。本实用新型能够简化除垢工艺,加强传热,增加传热系数,使得蒸发器能够在线清理除垢,实现连续生产,提高工作效率。
