专利号:CN201410129593.1
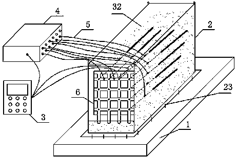
摘要:框架锚杆边坡锚固结构地震响应控制试验装置及施工方法,模型箱(2)内装有框架(6)和土体(32),土体(32)内埋设普通锚杆(10)和控制锚杆(11),框架(6)设置在土体(32)前,锚具(26)和垫板(27)将穿过框架(6)的普通锚杆(10)和控制锚杆(11)锚固框架(6)上,形成模拟支护边坡,框架(6)和土体(32)之间安装加速度计(30)和土压力盒(31),框架(6)上安装位移传感器(29),普通锚杆(10)和控制锚杆(11)的自由段贴有应变片(28),通过通讯线(5)将应变片(28)、加速度计(30)和土压力盒(31)与动态数据采集仪(4)连接,再与电脑(3)连接。
