专利号:CN201610202289.4
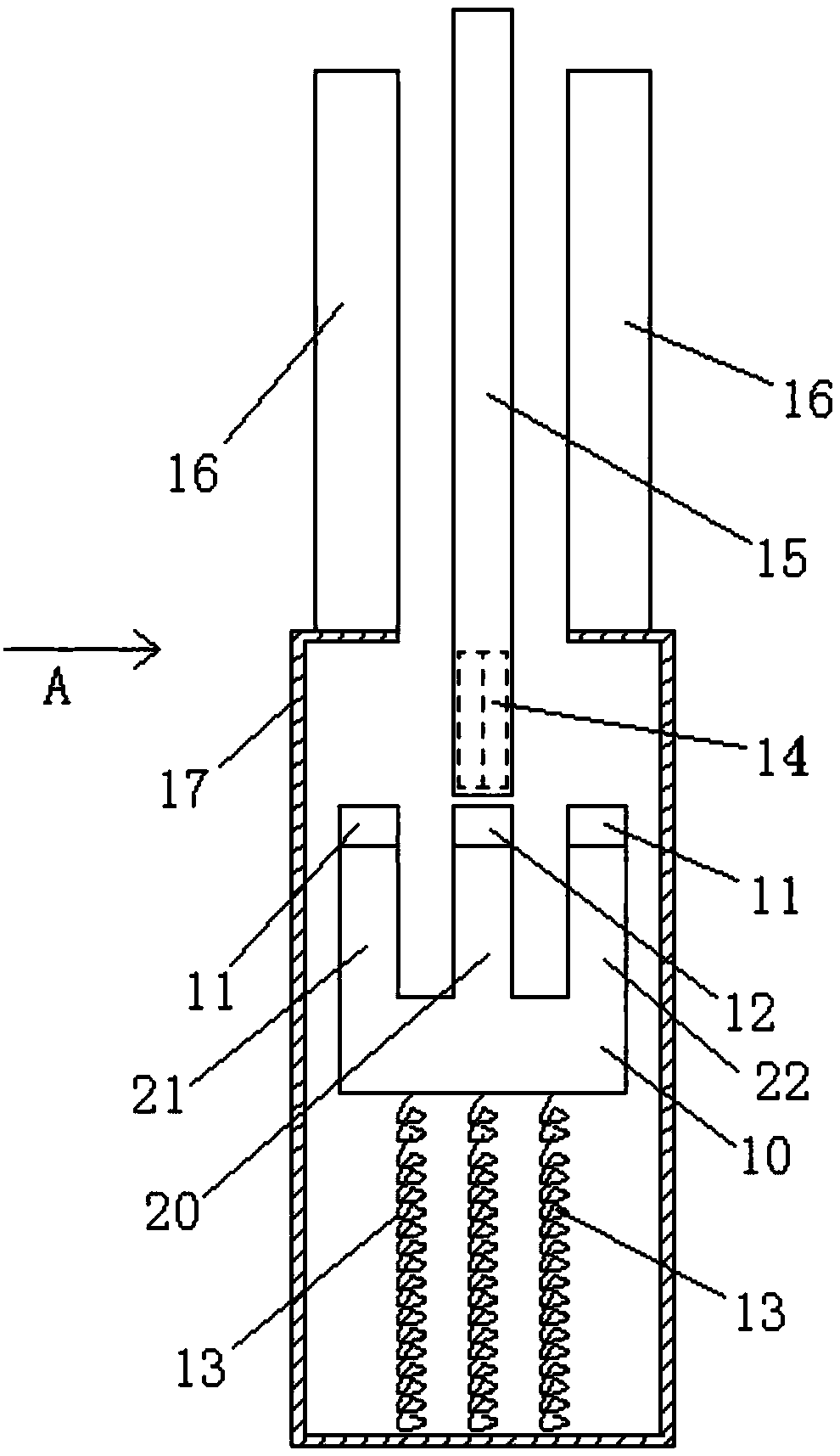
摘要:本发明属于电磁推进武器的技术领域。为了解决目前电磁发射武器的电磁阀会损耗有限的电磁发射武器的电源及容易出现控制故障的问题,本发明提出一种电磁发射武器用自动装填系统,包括枪机和枪机框,所述枪机框为中空的矩形体结构,位于电磁发射武器的轨道式线圈的后侧;所述枪机为山字形结构,该枪机的中间凸起设有复进头,该复进头为软磁性材料,所述枪机的左侧凸起和右侧凸起均设有磁头,该磁头为硬磁性材料,该磁头前端的磁极与所述轨道式线圈后端的磁极相同;所述枪机位于所述枪机框中,枪机通过复进弹簧与枪机框连接。本发明电磁发射武器用自动装填系统不会消耗有限的电磁发射武器的电源,结构简单,成本低廉,可靠性高。
