专利号:CN201610190527.4
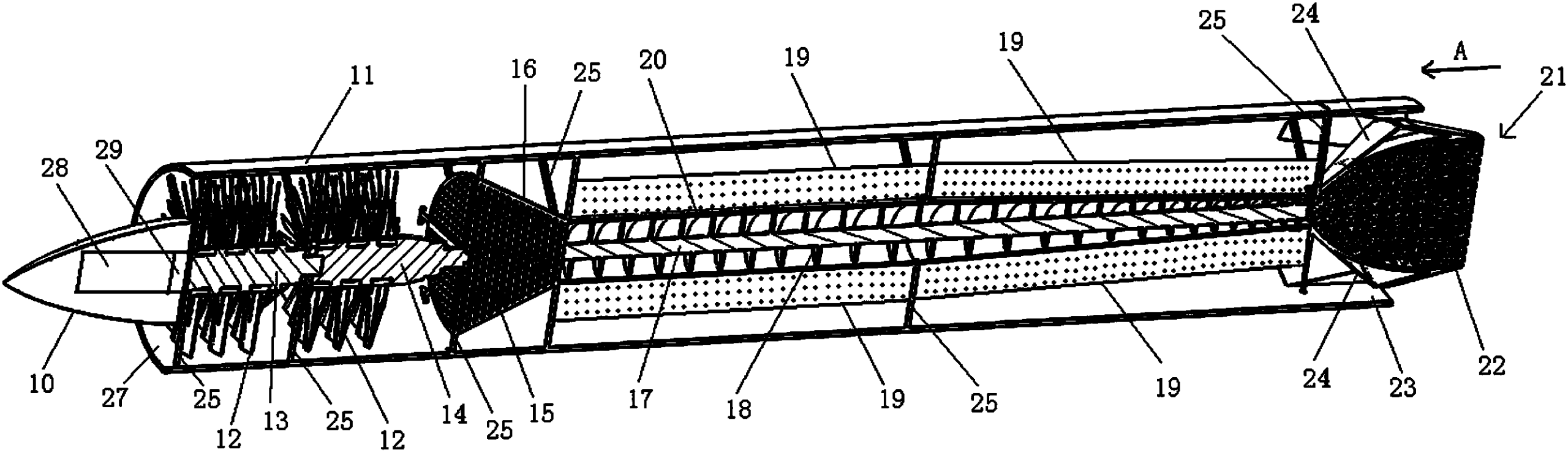
摘要:本发明属于喷气引擎的技术领域。为了解决目前喷气引擎核心机的进一步发展存在诸多瓶颈的问题,本发明提出一种喷气引擎核心机,包括外壳、进气道和压气机,所述压气机的后侧依次设置有整流罩和加速加压管;所述整流罩为管状结构,该整流罩与所述加速加压管连通,该整流罩中设置有正极高压电离网;所述加速加压管内设置有固定杆,该固定杆上设置有螺片,加速加压管外设置有励磁线圈,加速加压管的后部连接有喷嘴,该喷嘴内设置有负极高压电离网。本发明喷气引擎核心机不包括高温高压的燃烧室和转速难以提高的涡轮,降低了生产加工工艺要求和材料要求,减轻了重量,省去了昂贵而不耐用的高温高速转子件和燃烧室材料,成本更加便宜。
