专利号:CN201810261574.2
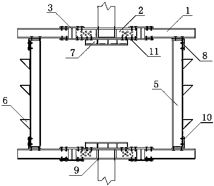
摘要:一种装配式桩基转换隧道结构及施工方法,主要用于隧道、地铁穿越既有桩基的地下工程,属地下建筑工程领域,桩基转换隧道结构由转换梁、转换柱、横托梁和Г形节点构件组成;分别将两侧H型钢水平打入土体,将橡胶垫片包裹在桩基设计位置,其上紧固抱箍结构,用工字型连接件将抱箍结构与两侧H型钢连接,构成转换梁;分别将两根转换柱顶入到上、下侧转换梁两端的承压型高强螺栓孔处,用Г形节点构件将转换柱的两端翼缘与转换梁的两端翼缘相连;截断桩基,将横托梁固定在抱箍结构位于开挖空间内侧的翼缘上,形成桩基转换隧道结构。本发明为装配式钢结构,施工快速,能充分利用原有桩基,节约材料,降低施工成本。
