专利号:CN201820424093.4
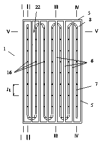
摘要:用于混凝土结构底面养护装置,用于养护混凝土结构(25),养护装置包括养护板(1)、供水系统(2)、混凝土湿度探测设备(3);养护板(1)的面板(4)为一平板,面板(4)正面和背面都有肋条;正面的肋条包括边肋(5)和中间肋(6)两种形式,边肋(5)布置在养护板(1)四周,中间肋(6)则在边肋(5)内部沿板的单方向布置;在养护板(1)正面的中间肋(6)及边肋(5)之间布设滴管(7),滴管(7)周围填充吸水功能强的填充材料(8),填充材料(8)的厚度与中间肋(6)高度、边肋(5)高度三者的数值相同,上部覆盖一层与填充材料(8)相同的覆盖材料(9)。
