专利号:CN201810286043.9
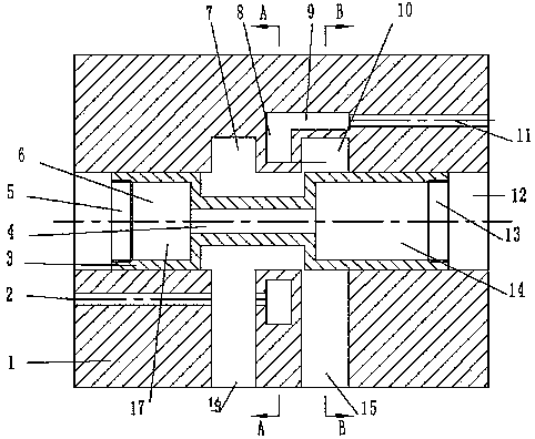
摘要:一种耐热防卡液压滑阀,阀芯(3)安装于阀体(1)上的阀孔(12)中,阀芯(3)内部开设有左储腔(6)和右储腔(14),左储腔(6)与右储腔(14)由阀芯油孔(4)连通,左储腔(6)由左螺堵(5)封堵,右储腔(14)由右螺堵(13)封堵,阀芯(3)中左储腔(6)和右储腔(14)内储存有高比热冷却物(17);进油口(16)与进油沉割槽(7)连通,出油口(15)与出油沉割槽(10)连通;所述O型腔(8)和C型腔(9)均开设于阀体(1)的阀孔(12)周围。
