专利号:CN201911126679.8
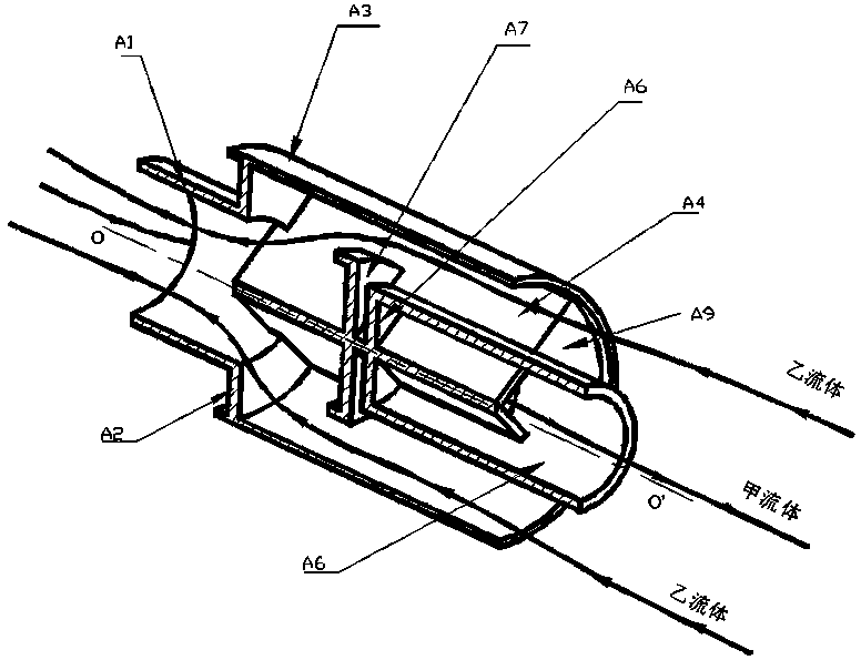
摘要:一种换热管道分流装置,内管1(A1)和内管2(A5)分别被套放在主外管(A3)内部,均与主外管(A3)同轴,内管1扇形前堵头(A2)安放在内管1(A1)深入主外管(A3)的外缘位置,与内管1(A1)、主外管(A3)相连接,内管1扇环形后堵头(A7)安放在内管1(A1)的末端;内管2扇形前堵头(A9)安放在内管2(A5)深入主外管(A3)的外缘位置,与内管2(A5)、主外管(A3)相连接,内管2扇环形后堵头(A6)安放在内管2(A5)的末端;周向均布对称分流板(A 4)以管道轴心为对称中心周向均布,贯穿内管1(A1)、内管2(A5)、内管2扇环形后堵头(A6)、内管1扇环形后堵头(A7)。
