专利号:CN201911128157.1
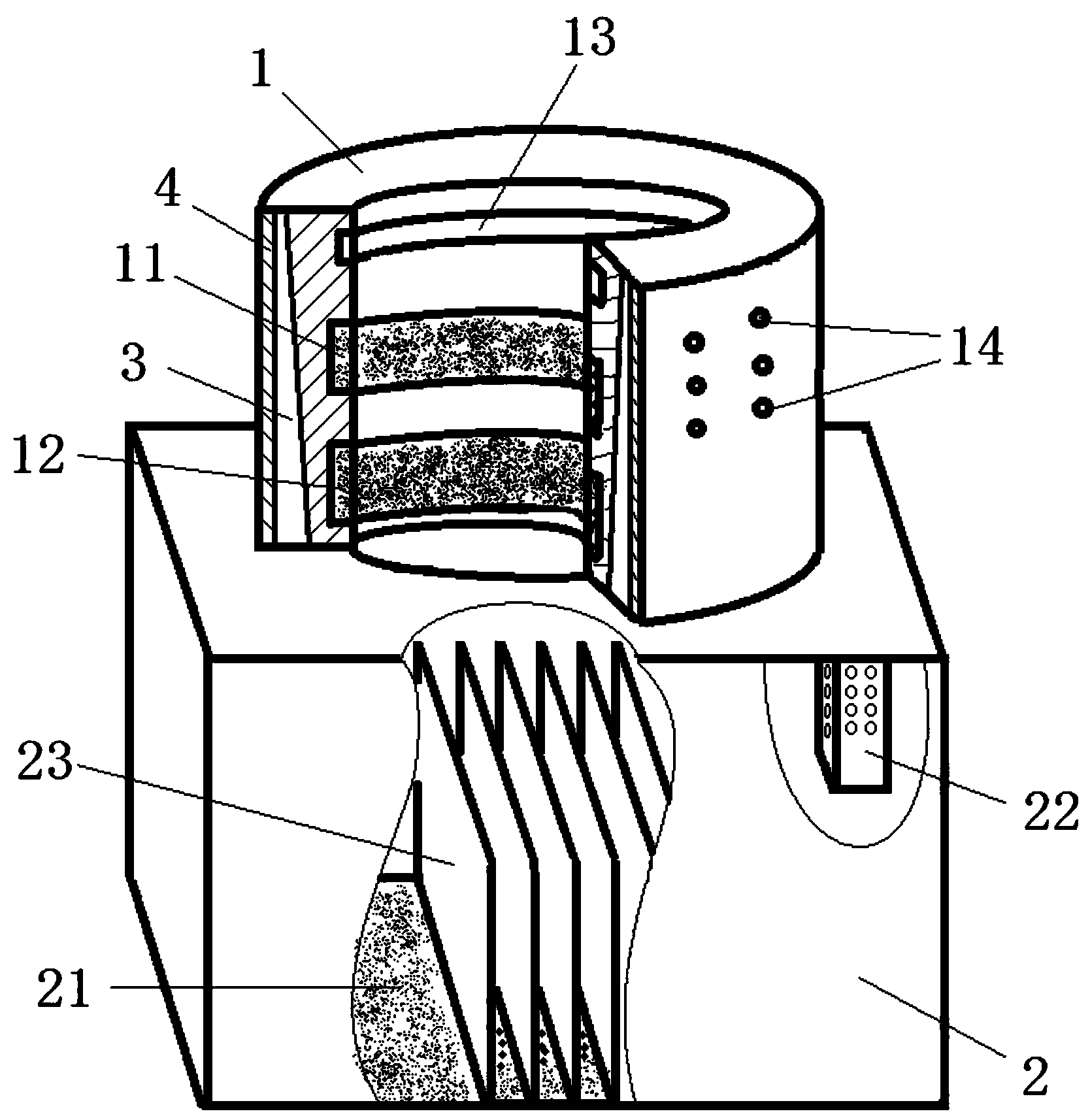
摘要:本发明属于昆虫诱捕装置技术领域。为了解决制曲过程中由于曲虫的存在而造成的问题,本发明公开了一种昆虫诱捕装置。该装置包括引诱单元和收集单元,引诱单元的进口与周围环境直接连通,引诱单元的出口与收集单元的进口连通,收集单元为密闭中空结构;引诱单元的内部设有多级的诱捕剂,靠近进口位置处的诱捕剂采用外界周围昆虫实际生存食料和昆虫最佳趋性物料的混合物,靠近收集单元的进口位置处的诱捕剂采用昆虫最佳趋性物料和惰性粉的混合物;收集单元内设有终端诱捕剂和杀虫精油,终端诱捕剂采用昆虫最佳趋性物料、惰性粉和香精的混合物。采用本发明的装置,可以有效进行曲虫的诱捕,减少曲药中的曲虫数量,保证制曲过程的顺利进行。
