专利号:CN202010353438.3
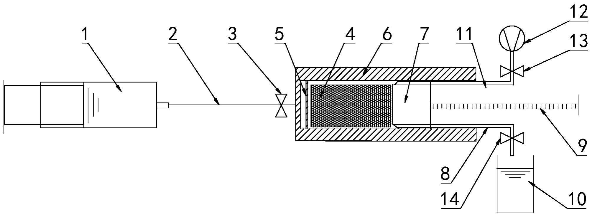
摘要:本发明公开了一种用于多孔介质的孔隙度测量装置及方法,属于多孔介质检测仪器技术领域。该装置包括容器、针管、移动活塞、真空泵、量筒,针管通过进水管连接至容器,移动活塞滑动密封安装在容器内部,所述移动活塞下部密封安装有出水管,出水管一端连通至容器内部,另一端贯穿出移动活塞连通至量杯,移动活塞上部密封安装有真空管,真空管一端连通至容器内部,另一端贯穿出移动活塞连通至真空泵。本发明的装置结构简单、操作方便,能够准确测量多孔介质的孔隙度,解决了现有高精度测量仪器测量孔隙度成本高和操作麻烦的问题,具有便于携带的优点,方便操作人员进行户外测量使用。
