专利号:CN202020704177.0
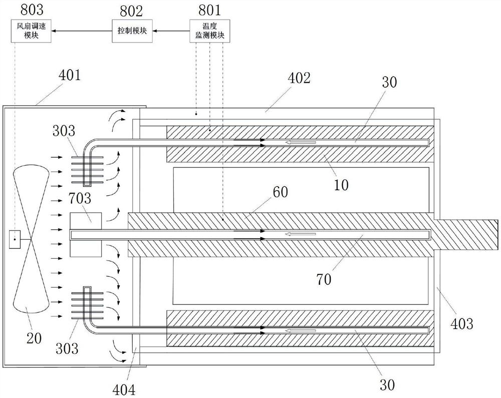
摘要:本实用新型属于电机设备技术领域。为了解决由于电机内部热量无法快速引出,而对电机内部设备造成损坏的问题,本实用新型公开了一种基于热管冷却的电机。该电机包括定子、风扇和定子热管;其中,所述风扇与所述定子沿轴向间隔布置,所述定子上设有沿轴向开设的定子热管孔,所述定子热管的定子热管蒸发段位于所述定子的定子热管孔中,所述定子热管的定子热管冷凝段伸出至所述定子的外部,位于所述定子与所述风扇之间。本实用新型的电机,可以直接将位于电机内部定子中的热量进行快速的引出,完成对定子的快速冷却降温,从而避免电机内部设备长时间处于高温状态而发生损坏。
