专利号:
CN202122148047.0
摘要:
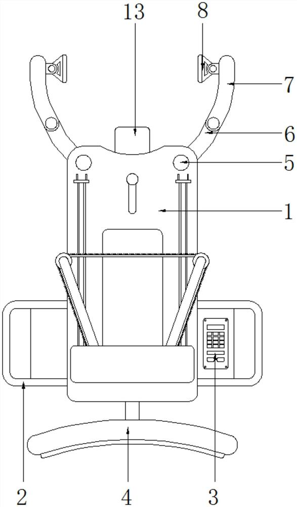
本实用新型涉及建筑施工技术领域,且公开了一种可自动调节定位的中空夹层钢管混凝土剪切切割装置,包括构造架,所述构造架的左右两侧均固定安装有握把,所述握把内侧固定安装有控制面板,所述构造架底端活动安装有推板,所述构造架顶部插接有转轴,所述转轴远离构造架的一端固定安装有转杆,所述转杆顶端活动安装有压杆,所述压杆内侧活动安装有压座,所述转杆底端固定安装有顶杆,所述顶杆底端固定安装有定位片,所述定位片内部插接有拉簧,所述构造架内部滑动安装有滑杆,所述滑杆底端固定安装有推块,所述滑杆顶端固定安装有卡板,通过在切割前使构造架保持水平,便于更好的对准切割线,从而使切割不会发生歪斜。
