专利号:
CN202111036827.4
摘要:
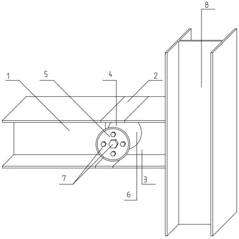
本发明公开一种梁柱摩擦耗能节点,包括耗能装置以及垂直连接的H型横梁和H型立柱,横梁包括第一梁段、第二梁段和第三梁段,耗能装置包括安装在第二梁段上的摩擦组件和安装在第三梁段上的摩擦筒,摩擦组件设置在摩擦筒内并与摩擦筒摩擦连接,第二梁段的屈服点低于第一梁段和第三梁段的屈服点;当发生小的振动时,通过摩擦筒与摩擦组件之间的摩擦完成对振动能的消耗;当发生大的振动时,横梁会发生变形,摩擦组件与摩擦筒之间发生转动摩擦耗能;当发生剧烈振动时,低屈服点的第二梁段首先发生破坏,整体结构会朝向第二梁段的方向倾斜发生连续倒塌,使得避难人员对于整体结构的倒塌方向做出针对性的躲避,进而提高避难人员的生存率。
