专利号:
CN202122140329.6
摘要:
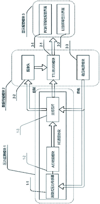
一种电力光纤端口在线预警装置,由压力监测模块(1)、数据传输模块(2)及显示报警模块(3)构成;压力监测模块(1)包括薄膜式压力传感器(11)、A/D转换模块(12)和主控芯片(13);数据传输模块(2)包括TTL转USB模块(21)、摄像头(22)和电源稳压模块(23);显示报警模块(3)包括PC端可视化报警界面(31)和LED屏幕显示界面(32);A/D转换模块(12)和主控芯片(13)通过3根有线连接,分别做VCC,GND和DO;压力监测模块(1)和数据传输模块(2)之间通过2根有线连接,分别做RX和GND;本实用新型适用于交换机或机房等具有大规模电力光纤端口的环境。
