专利号:
CN202122601085.7
摘要:
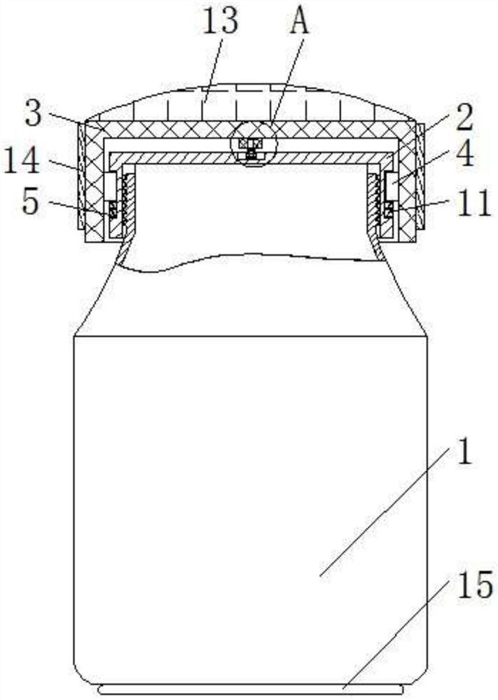
本实用新型公开了一种保健品用包装瓶,包括包装瓶,所述包装瓶的顶部螺纹连接有瓶盖,所述瓶盖的表面套设有滑动套,所述滑动套的内壁固定连接有滑动环,所述瓶盖的表面开设有与滑动环配合使用的滑动槽,所述滑动套内壁的顶部固定连接有卡块,所述瓶盖的顶部开设有与卡块配合使用的卡槽,所述卡块的底部开设有放置槽。本实用新型通过设置包装瓶、瓶盖、滑动套、滑动环、滑动槽、卡块、卡槽、放置槽、固定杆和限位弹簧的配合使用,解决了现有的包装瓶不具备防儿童误食的效果,包装瓶都是通过瓶盖进行密封,比较大点的儿童能够将其打开,并因为好奇心吃下包装瓶内部的保健品,不便于使用者使用的问题。
