专利技术

您当前的位置: 网站首页 > 科技成果 > 专利技术 > 正文

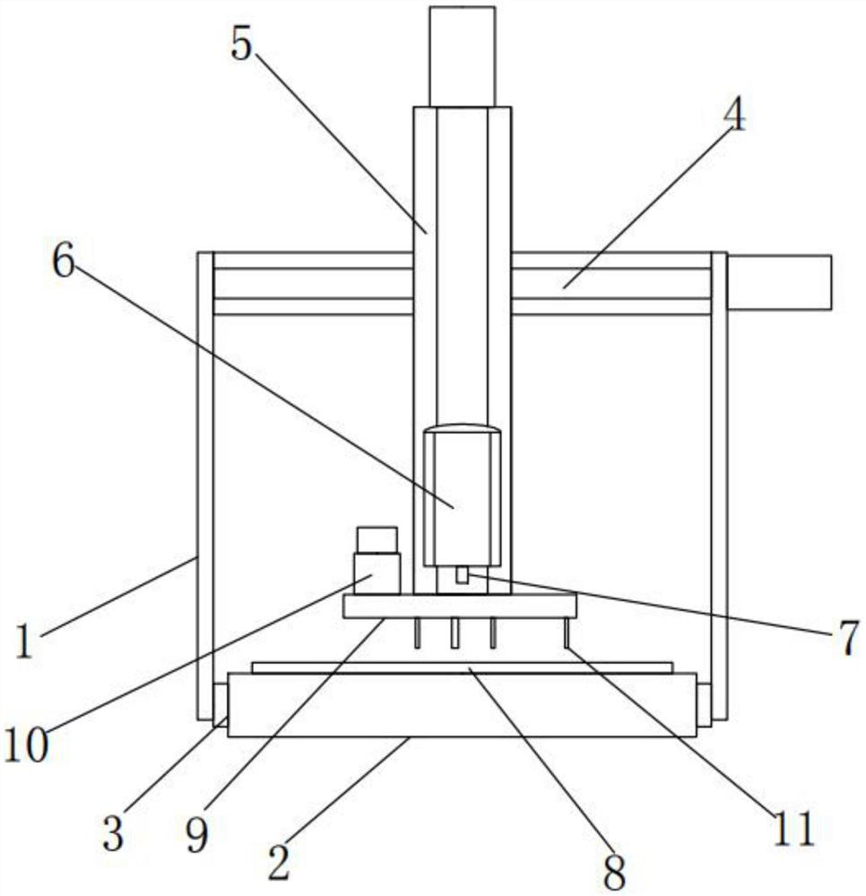
一种自动化线路板生产用打孔装置
2024-05-06 点击: 作者: 来源:

专利号:

CN202122562191.9

摘要:

本实用新型公开了一种自动化线路板生产用打孔装置,包括龙门架、加工台、X轴电动滑轨、Z轴电动滑轨、Y轴电动滑轨、钻孔电机以及可调式钻杆切换装置;X轴电动滑轨安装在加工台的左右侧面上;龙门架横置在加工台的上方位置,龙门架的左右侧梁的底部位置分别安装在X轴电动滑轨上;Z轴电动滑轨安装在龙门架的横梁上,本案采用可切换式结构,低成本的情况下实现钻头的快速切换,在原有的三轴驱动结构下,整体可以实现单机加工,可有效的实现老设备的升级改造,且相对成本低。