专利号:
CN202221049448.9
摘要:
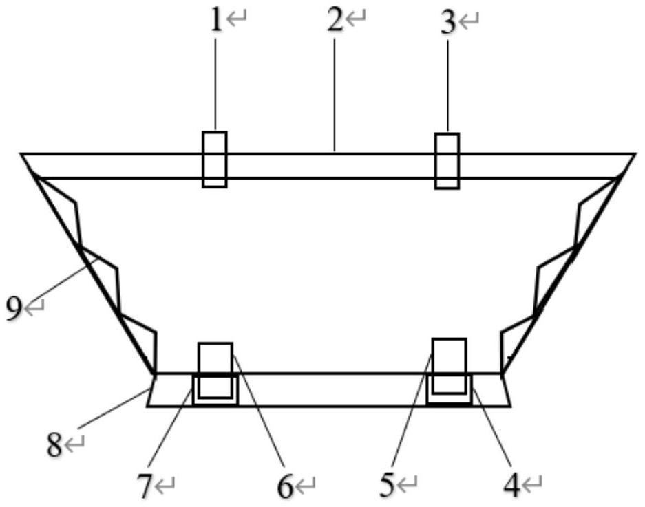
本实用新型公开了一种便携式制备氢氧化镍的无膜电解槽,包括底座、设置于底座上表面四周边沿的可折叠侧壁、与可折叠侧壁顶端开口接触的密封盖、用于固定电极的电极固定装置及设置于底座上的排液口,所述电极固定装置分别固定在底座和密封盖上,所述可折叠侧壁为可折叠伸缩的波浪形结构,本实用新型设计的电解槽结构简单、功能完善,无需复杂的拆卸组装过程,压缩后体积小、便于携带、方便收纳,打开后无需任何组装就和普通电解槽一样,同时,还可以根据实际需要调整撑开的比例,从而变成不同体积的电解槽。
