专利号:
CN202221230186.6
摘要:
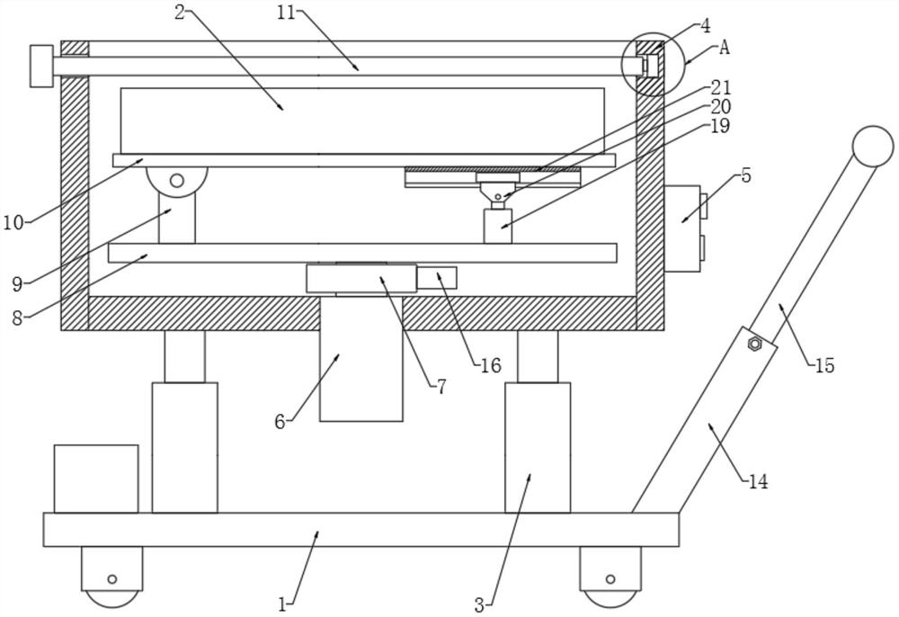
本实用新型公开了一种环境设计用现场测量装置,包括移动底板和激光测距仪,所述移动底板的上表面分别固定安装有第一电动推杆和移动电源,第一电动推杆的伸缩端固定连接有收纳盒,收纳盒的右侧壁设置有控制器,收纳盒的内底壁固定连接有第二电动推杆,第二电动推杆的伸缩端固定连接有旋转盒,旋转盒的顶端转动连接有旋转柱。该环境设计用现场测量装置,通过设置移动底,能够快速将激光测距仪移动至测量位置,在移动时,利用收纳盒和挡盖对激光测距仪进行防护,在使用时,抽离挡盖,控制第二电动推杆伸长,带动旋转盒上升,使激光测距仪从收纳盒的顶端露出,利用激光测距仪直接对周围环境进行测量,使用快速。
