专利号:
CN202221257440.1
摘要:
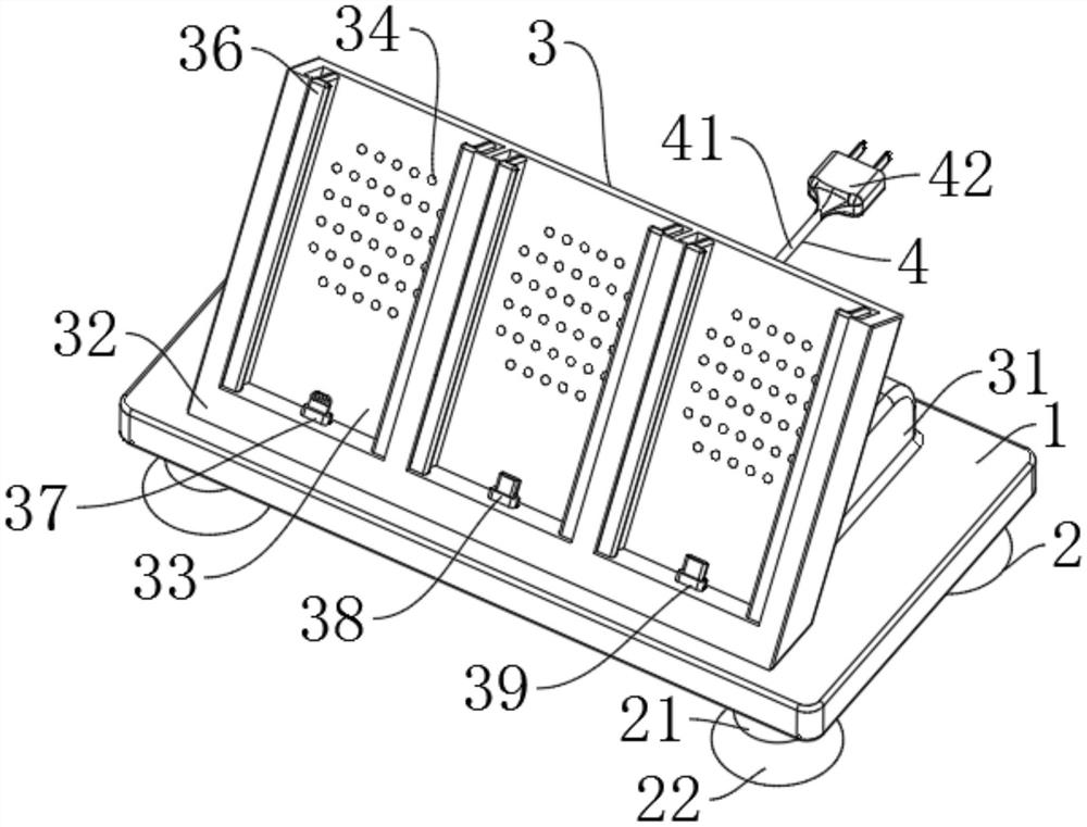
本实用新型公开了一种电子产品充电底座,包括装载板、固定机构、接电机构,还包括充电机构,所述装载板下端四个角处设置所述固定机构,所述装载板上端设置所述充电机构,所述装载板下端并位于中间设置所述接电机构,所述充电机构包括支撑条,所述支撑条设置在所述装载板上端且设有多个,所述支撑条前端设置有放置架;电子产品与充电机构中的放置槽配合,可以满足市场主流电子产品或手机,且由于现有电子产品或手机的尺寸大小不一,可以通过弹簧使卡条有收缩性,便于卡条对电子产品或手机进行固定。
