专利号:
CN202210783699.8
摘要:
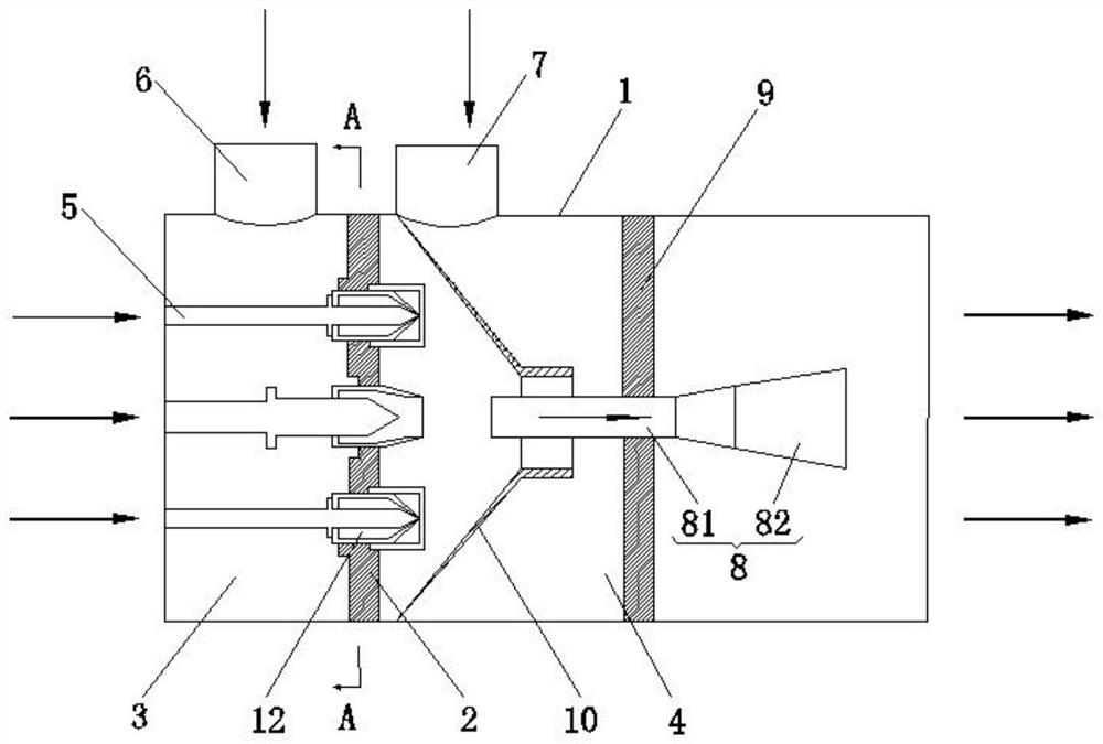
本发明公开了一种多通道组合射流泵,涉及射流泵技术领域,包括:壳体;第一隔板,第一隔板与壳体的内壁固定连接,第一隔板将壳体分为吸入室和混合室,且第一隔板上具有连通吸入室和混合室的通孔;高压流体入口管,高压流体入口管设有多个,多个高压流体入口管间隔分布在吸入室内,每个高压流体入口管的一端均与壳体的第一端连接,每个高压流体入口管的另一端均贯穿第一隔板并延伸至混合室内;第一低压流体入口管,第一低压流体入口管与吸入室连通;第二低压流体入口管,第二低压流体入口管与混合室连通;中压流体出口管,中压流体出口管设置在壳体的第二端,中压流体出口管与混合室连通。本发明能够实现射流泵的多级加能。
