专利号:
CN202221713067.6
摘要:
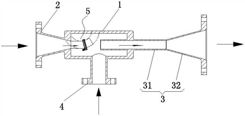
本实用新型公开了一种矢量喷嘴射流泵,涉及射流泵技术领域,包括:吸入室;高压流体入口管;中压流体出口管;低压流体入口管;喷嘴,喷嘴包括固定管和转动管,固定管的第一端与高压流体入口管伸入吸入室的一端连接,固定管的第二端具有弧形段,固定管的弧形段设置有外凸缘,转动管的第一端也具有弧形段,固定管的弧形段端面和转动管的弧形段端面为截面积相等的圆形结构,转动管的弧形段外边缘设置有齿轮环,外凸缘上均匀分布有多个齿轮,其中一个齿轮通过固定在固定管上的驱动电机驱动,多个齿轮分别与齿轮环啮合,外凸缘和齿轮环外侧套接有环形密封导向罩。本实用新型能够实现对流体喷射的矢量方向进行调节,以达到改变控制流体的喷射速度。
