专利号:
CN202223318151.0
摘要:
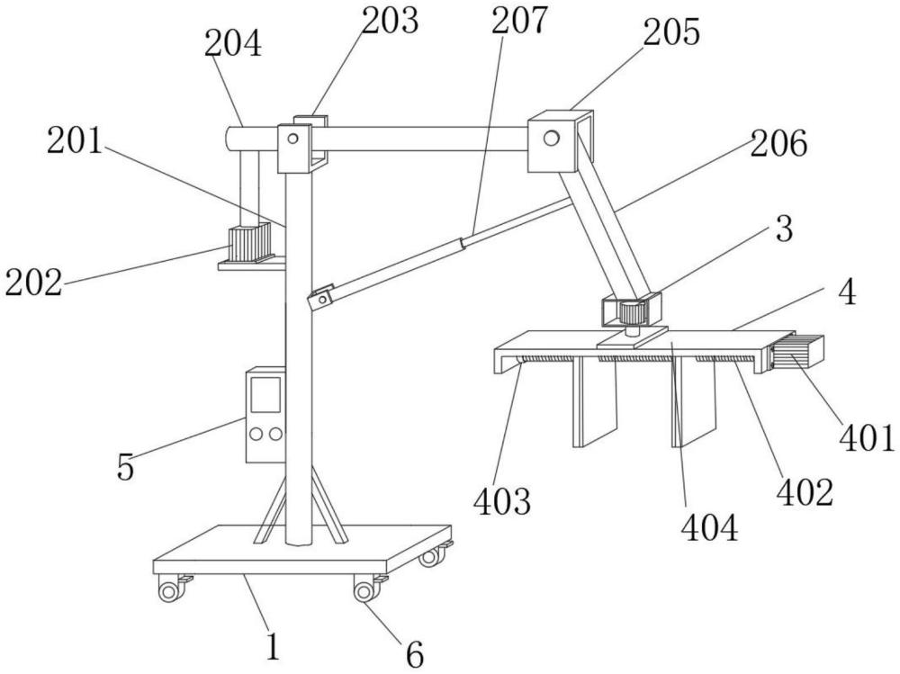
本实用新型公开了机械加工用机械吊臂,包括底板,还包括提升机构和电机A,所述底板的板顶处安装有提升机构,所述提升机构由竖杆、电动伸缩杆A、凹形块A、横杆、凹形块B、连接杆和电动伸缩杆B组合构成,所述底板的板顶处焊接由竖杆,所述竖杆的杆顶处焊接有凹形块A,所述凹形块A的凹槽处与横杆的杆壁处通过锚栓活动连接,所述竖杆的杆壁处固定安装有电动伸缩杆A,且电动伸缩杆A的移动输出端与横杆的杆壁处连接,所述横杆的另一端与凹形块B的凹槽处通过锚栓活动连接。通过提升机构、夹持机构和滑轮能够对机械加工中的物件进行搬运,增加机械加工效率。
