专利号:
CN202211588932.3
摘要:
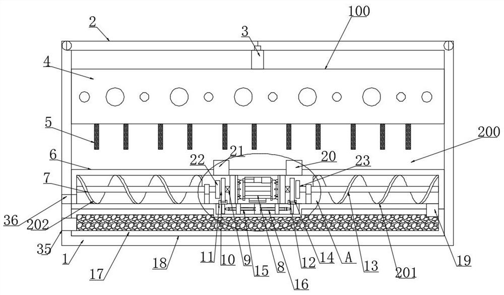
本发明适用于烘干设备技术领域,尤其涉及一种长杆状结构菌类生产用多功能烘干设备,所述长杆状结构菌类生产用多功能烘干设备包括:外壳,外壳设置有开口,开口处设置有密封门,密封门设置有两组,且均与外壳转动连接;排料机构,排料机构固定设置在外壳内;气流控制机构,气流控制机构设置在外壳内腔底部,用于控制外壳内部的气压和气流出入。本发明通过设置密封门能够对外壳内部进行密封,在进行烘干的时候,先利用排料机构挤压物料内的多余水分,然后利用气流控制机构使得外壳内为负压,从而驱使物料内的液体快速蒸发,在此过程中辅以加热手段,从而补充干燥空气,将潮湿气体排出,大大提高了烘干速度。
