专利号:
CN202320002141.1
摘要:
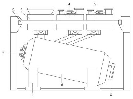
本实用新型公开了一种沥青改性用多材料配比装置,包括支撑架、配比箱一、配比箱二、配比箱三和总混合罐,所述支撑架左侧顶端、所述支撑架右侧顶端均通过铆钉连接横梁,所述横梁靠近左端处设置有配比箱一且通过焊接相连接,所述横梁靠近中端处设置有配比箱二且通过焊接相连接,所述横梁靠近右端处设置有配比箱三且通过焊接相连接,所述配比箱二顶部右端焊接有进料管一,所述配比箱二顶部中端设置有电机一,位于所述电机一底部设置有搅拌轴一且通过联轴器相连接,所述配比箱三顶部右端焊接有进料管二,涉及沥青配比技术领域,通过设置预处理混合组件,使得多种材料进行总混合之前,装置拥有对材料的预混合处理能力。
