专利号:
CN202223553387.2
摘要:
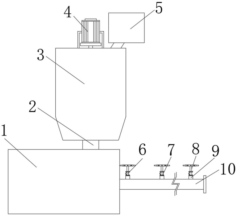
本实用新型涉及农药喷洒设备技术领域,具体涉及一种田间农药喷洒装置。该喷洒装置包括储液构件、吸液构件、输液构件和喷液构件。储液构件的内部具有容纳农药的储液腔,储液腔的出口与吸液构件的进液端相连。吸液构件包括用于吸取储料构件内部的农药并输送至输液构件中的泵体。输液构件包括用于输送农药至喷液构件中的出液管,出液管与泵体的出液端相连。喷液构件沿着出液管的延伸方向布设,喷液构件包括导液管和喷头,喷头通过导液管与出液管相连。该喷洒装置通过泵体工作,使进液管抽取储液腔内部农药,通过出液管排出农药,使喷头喷出农药,无需人力移动喷洒农药设备以喷洒农药,大大降低了农药的喷洒难度,提高了农药喷洒效率。
