专利号:
CN202320002125.2
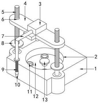
摘要:
本实用新型公开了一种沥青改性用离析检测装置,包括:底座、高度调节机构、检测机构和吸料机构,底座的顶面开设有检测槽且检测机构安装在检测槽内,高度调节机构包括调节杆、调节板、手动调节盘、电机和同步机构,调节杆共设置两个且竖直安装在底座顶部两侧。本实用新型通过转动手动调节盘来带动调节杆转动,调节杆转动后带动调节板高度移动从而调整下料口的高度,还可通过底座的内部带动调节杆转动,有手动和电动两种调节方式,对下料口高度调节方便,且检测机构内设置若干个检测盘,下料口将沥青导出至检测盘后进行查看,可以对多组检测盘中的沥青进行对比,更直观的观察到多组沥青的离析情况。
