专利号:CN201210045890.9
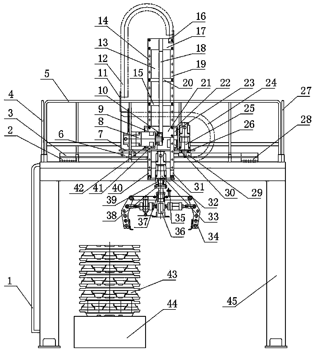
摘要:用于铝锭连续铸造生产线的伺服码垛机,由移动机构和升降机构组成,当层运输机上的铝锭层排列好后,伺服电机(8)动作,带动升降机构(13)和夹具(34)下降到层整列工位,夹具(34)动作,夹住整层铝锭,伺服电机(8)再动作,带动升降机构(13)、夹具(34)和铝锭层上升到初始高度,接着伺服电机(25)动作,带动移动机构向左移动到码垛工位(44)的正上方,接着伺服电机(8)再动作,带动升降机构(13)、夹具(34)和铝锭层下降。当层铝锭接触到码垛工位(44)后,发讯装置(35)动作,夹具(34)打开将铝锭放置在码垛工位(44)。接下来伺服电机(8)动作,升降机构上升到初始高度,伺服电机(25)动作带动夹具(34)回到初始位置,完成第一层码垛。第二层铝锭的码垛伺服电机(33)动作,带动夹具(34)和第二层铝锭转动90°之后,将第二层铝锭码放在第一层铝锭上面,完成第二层铝锭的码垛。
