专利号:CN201310025743.X
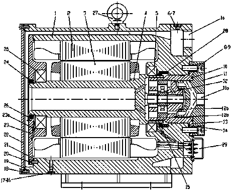
摘要:一种气隙非浸油式液压电机叶片泵,电机转子(3)与主轴(4)压装成一体,并通过第一轴承(5)和第二轴承(25)支撑在壳体(1)和内端盖(23)上,叶片泵泵芯(12)通过花键(4c)与主轴(4)连接,叶片泵泵芯(12)装在泵芯座(13)中,电机定子(2)压装在壳体(1)的内孔(1e)上,壳体(1)上设有进油口(1a)、环形流道(1b)、冷却流道(1d),主轴(4)上设有主轴中心孔(4a)、孔板离心泵(4c),通过电机泵内流动的油液带走电机等产生的热量,省去了电机中的风扇,同时该液压电机泵通过主轴中心孔、孔板离心泵吸油和增压,消除了气动噪声和气穴噪声,使得整个液压电机泵具有优异的静音性能。
