专利号:CN201510555457.3
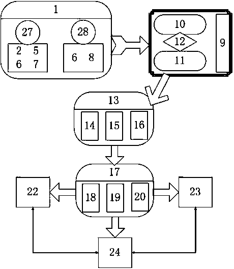
摘要:高填方变形无线远程综合监测系统及安装监测方法,系统由传感器系统(1)、数据采集系统(9)、无线传输系统(13)和数据管理分析系统(17)构成,安装监测方法的步骤为:1、传感器系统埋设安装:①单点沉降计埋设安装,②土压力盒埋设安装,③孔隙水压力计埋设安装,④土壤湿度传感器埋设安装,⑤测斜仪埋设安装;2、数据采集系统设计与安装;3、无线传输系统安装与调试;4、数据管理分析系统安装;5、监测系统实施,可对高填方地基和高填方边坡在填方施工过程或工后变形与稳定进行无线远程综合监测,对高填方边坡变形及地下水环境改变等可能引发的地质灾害提前预警,实现信息化设计与施工。
