专利号:CN201510696230.0
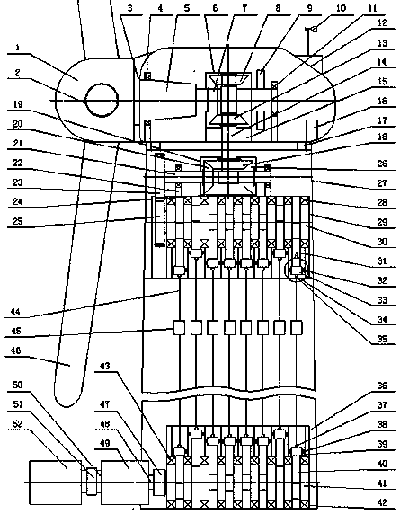
摘要:风力发电大功率柔性长程传动装置,其目的是将置于塔顶机舱的大型增速箱和发电机放置在地面,减小了塔顶机舱的重量和体积,降低了安装和维修的难度和成本;该包括风轮、第一级增速器、曲柄-滑块-拉索机构、第二级增速器和发电机。风轮在风力的作用下转动,通过轮毂传递给主轴,主轴与两组齿轮箱连接,通过齿轮箱的增速和转向后,再通过一对直齿轮驱动曲轴转动;塔筒顶部的曲轴、滑块和钢索组成一个曲柄-滑块-拉索机构,曲轴通过连杆带动滑块机构做直线运动,再通过钢索传递到塔筒底部的另一个反向的曲柄-滑块-拉索机构,实现直线运动变旋转运动,塔筒底部的曲轴与第二级增速器相连,增速后带动发电机发电。
