专利号:CN201521115830.5
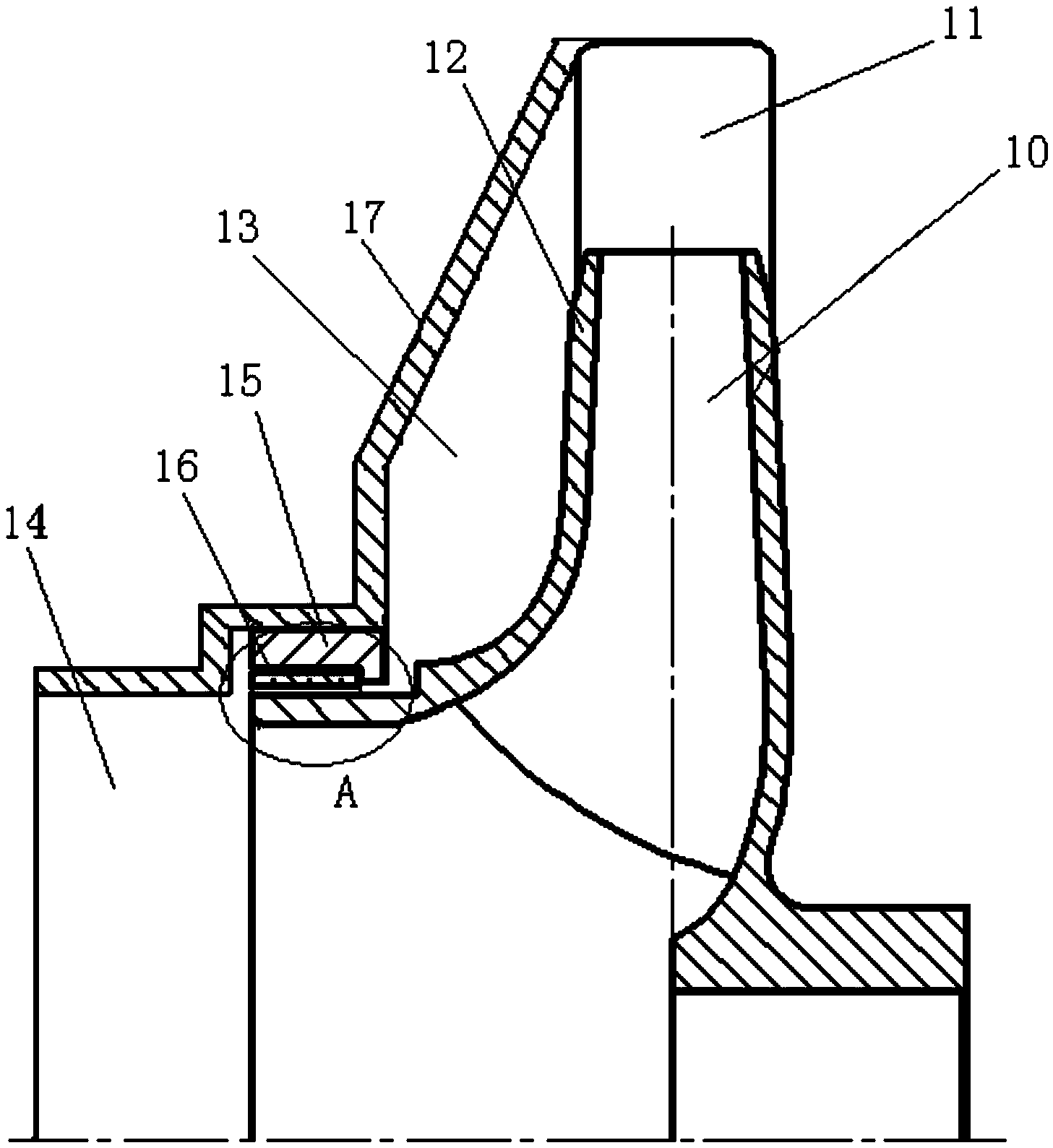
摘要:本实用新型属于流体机械的技术领域。为了解决目前使用离心泵输送含固体颗粒的流体介质时叶轮容易抱死的问题,本实用新型提出一种离心泵,包括泵体、叶轮、上口环和下口环,下口环的内壁设置有螺纹,且该螺纹的旋向与叶轮的旋转方向相反,下口环的厚度为5-7mm,螺纹为方螺纹,公称直径为M1.6或M1.8,粗牙牙距为0.35mm,或者公称直径为2.0,粗牙牙距为0.4mm。本实用新型离心泵工作过程中,螺纹会对下口环与叶轮之间的间隙中的固体颗粒产生从离心泵前腔到吸入室的导向作用,使固体颗粒顺着该螺纹的旋向流入吸入室,以防止固体颗粒与叶轮和下口环产生摩擦,防止固体颗粒阻塞叶轮与下口环之间的间隙,从而防止离心泵叶轮抱死。
