专利号:CN201610044592.6
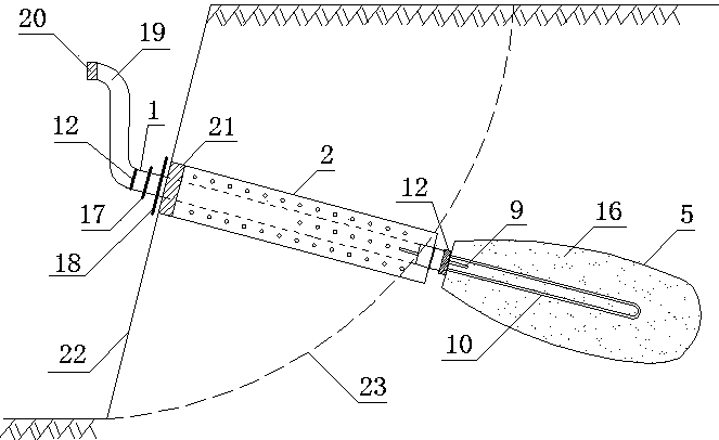
摘要:一种加速对流通风冷却锚管及施工方法,适用于多年冻土边坡,属寒区边坡支护领域。通风冷却锚管包括锚管、对流管、纤维袋、接头、抽风管和冻结系统;冻结系统由水泵、水箱、导管和盐水构成;锚管穿过定位架嵌套于对流管内,锚管后端与接头连接,卡子将纤维袋从外侧固定于接头的两个挡环之间;浆体冻结膨胀锚固于稳定地层;锚具将锚管锚固于垫片上,对流开关穿过锚管安装于对流管端部,抽风管一端安装抽风开关、另一端通过卡子与锚管连接,抽风开关和对流开关分别控制抽风管和对流管的管口封闭与张开。
