专利号:CN201621291006.X
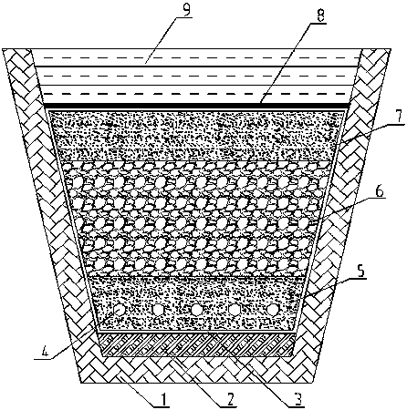
摘要:一种高填方地基排水盲沟,包括纵向排水盲沟(10)和横向排水盲沟(11),纵横向排水盲沟相互交错呈井字形分布,组成排水盲沟网,排水盲沟结构由素填土层(2)、土工布(3)、软式透水管(4)、第一细砾石层(5)、粗砾石层(6)、第二细砾石层(7)、土工格栅(8)组成;从地基表层的泉眼(12)处开始沿水流方向(13)设置具有喇叭口形状和预设坡度的排水槽,排水槽底部铺设预设厚度的素填土层(2),素填土层(2)上依次铺设土工布(3)、第一细砾石层(5)、粗砾石层(6)、第二细砾石层(7)、土工格栅(8),其中第一细砾石层(5)内安放软式透水管(4)。
