专利号:CN201611100071.4
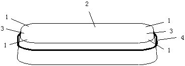
摘要:用于无砟轨道砼裂缝控制的大半径倒角轨枕及施工方法,大半径倒角轨枕中,1、轨枕角部采用大半径倒角,倒角部位相当于四分之一个圆台,圆台顶部半径一般不小于80mm。2、轨枕周边布设防裂钢筋,可沿轨枕外侧布置封闭的环状或仅在轨枕端部一定范围内布置成环形两种形式。防裂钢筋采用带肋钢筋,其公称直径取值范围为14mm~20mm。3、防裂钢筋的保护层厚度在碳化环境作用等级为T2时,取35mm;在碳化作用等级为T3时,取45mm。防裂钢筋与轨枕之间的净间距值取值范围为20mm~30mm。4、大半径倒角轨枕施工时应注意防裂钢筋在整体道床内的固定位置准确及牢固性,同时注意防裂钢筋与其他钢筋的绝缘。
