专利号:CN201621382276.1
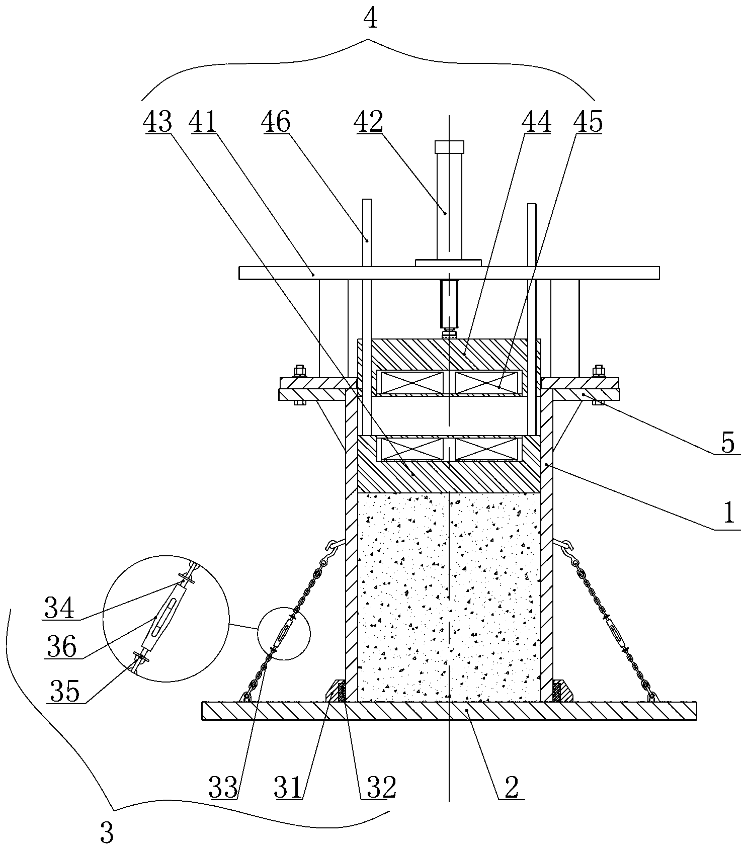
摘要:本实用新型属于乳化沥青冷再生技术领域。一种乳化沥青破乳时间测试模具,包括模压套筒、承载面板、对位对接组件和轴向施压组件,所述的对位对接组件包括定位环、密封圈和多条对拉杆或对拉链条,在对拉杆或对拉链条中部设置有正反旋螺栓调节机构;模压套筒上部设置有支撑法兰,所述的轴向施压组件包括支撑架、下施压块、上施压块和电磁铁组,所述的上施压块、下施压块和支撑架之间设置有导向杆。本实用新型结构设计合理、紧凑,其实现了对模压套筒的定向固定,为施压测试提供良好的先决条件,同时能够大大提高同轴度,便于对施压压力的调整和控制,有效的提高了负载模拟运输的准确性,并且整个装置装配方便,装卸料操作便捷,轻巧便携。
