专利号:CN201710627217.9
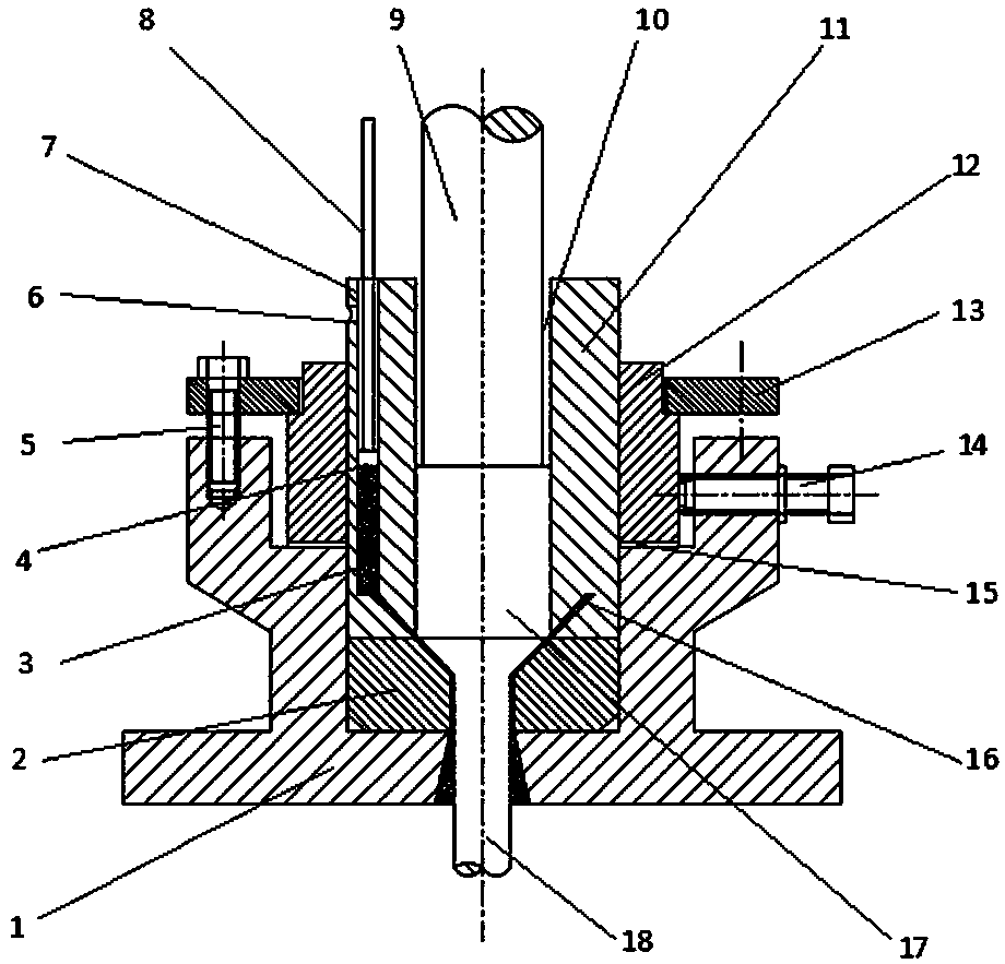
摘要:一种热挤压装置的自润滑结构,挤压凹模(2)通过过盈配合固定在挤压模座(1)上,挤压衬套(11)的前端与挤压模座(1)也是过盈配合,它的后端由衬套固定套(12)固定,而衬套固定套(12)由固定螺钉(14)固定和调节;衬套固定套(12)通过垫圈(15)与挤压模座(1)接触,由固定板(13)通过螺栓(5)固定在挤压模座(1)上;在挤压衬套(11)靠近挤压凹模(2)的一端开设环形槽(16)和一个矩形的熔融玻璃粉压室(7),在靠近熔融玻璃粉压室(7)的末端开设一个熔融玻璃粉进孔(6),活塞杆(8)能够在熔融玻璃粉压室(7)里自由活动,活塞杆(8)的前端带有活塞密封垫(4);在挤压腔(10)的里装有胚料(17),挤压推杆(9)能够在挤压腔(10)内自由活动。
