专利号:CN201710652423.5
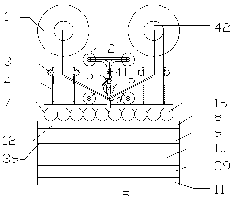
摘要:本发明涉及一种智能化粉刷仪,该粉刷仪包括两个联动大吸盘、两个伸缩导轨、四个中型吸盘、粉刷室、中型铅蓄电池组、置于驾驶仪内的单片机和导航系统。每个伸缩导轨的前端设有一个联动大吸盘,后部两侧设伸缩导轨齿轮;伸缩导轨齿轮啮合固定齿轮,该固定齿轮啮合电机;伸缩导轨中心设底盘;底盘上设前进吸盘导气管,该前进吸盘导气管连联动大吸盘、抽气泵Ⅰ;四个中型吸盘固定在骨架上,该骨架上设4根导气管;每根导气管连中型吸盘、抽气泵Ⅱ;粉刷室上部设供料管;粉刷室内设有正转电机、滚筒刷、反转电机、中型铅蓄电池组;数个供料管连入浆管道,该入浆管道与输浆泵相连;输浆泵设有与导航系统相连的水头调节器。本发明安全性好、效率高。
