专利号:CN201710724802.0
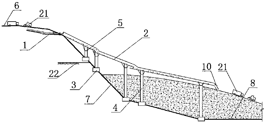
摘要:一种削山造地装置及施工方法,属于削山造地技术,包括敞口传送带、封闭传送带、混凝土墩、标准节和可爬升传送带支架,山顶挖方区修整场地安放敞口传送带;山坡与填方区修筑混凝土墩,混凝土墩上通过螺栓固定标准节,可爬升传送带支架固定于标准节顶部,封闭传送带置于可爬升传送带支架上,连接电线并接通电源,调整可爬升传送带支架高度,形成引导线路连接挖方区与填方区,引导线路末端套上尼龙布袋。本发明适用于地形为峡谷和盆地的城市用地空间拓展,可缩短施工工期,降低工程造价和减少环境污染,防止回填区未固结的不均匀沉降,加快山区城市发展。
