专利号:CN201710759842.9
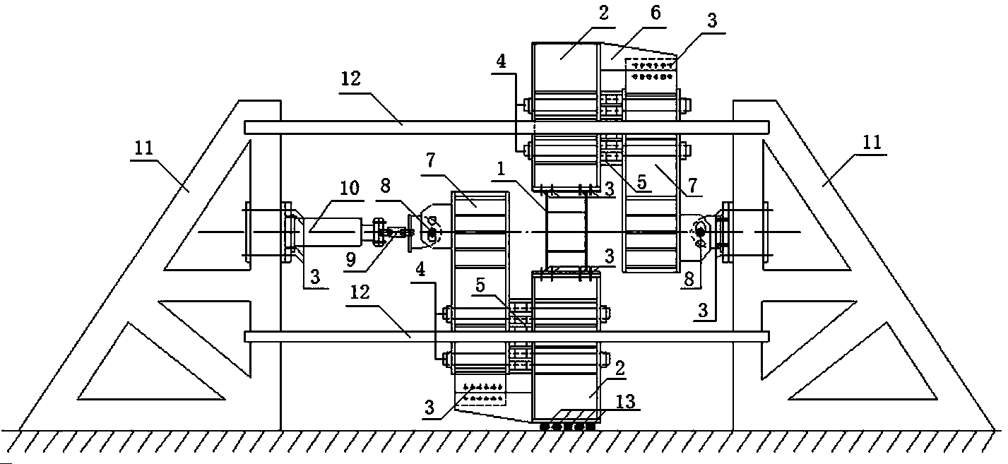
摘要:剪切型耗能梁段受纯剪力的试验加载装置,整个试验装置分为四个部分:第一部分为加载架部分,加载架由加载梁和框架梁相连组成。框架梁与加载梁通过高强螺栓、高强拉杆、箱型垫块及连接板相连。第二部分为主动施加荷载部分,主动施加荷载部分由高强螺栓左侧铰支座、传感器、拉压千斤顶及左侧三角反力架组成。左侧铰支座与传感器通过丝杆连接,传感器与拉压千斤顶通过丝杆连接,拉压千斤顶通过垫板及高强螺栓固定在左侧三角反力架上。第三部分为被动加载部分,被动加载部分由右侧铰支座及右侧三角反力架组成。右侧铰支座通过垫板及高强螺栓固定在右侧三角反力架上。第四部分为剪切型耗能梁段部分。能进行独立加载,使剪切型耗能梁段受纯剪力。
