专利号:CN201710851300.4
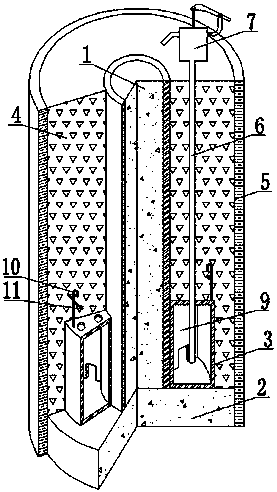
摘要:集排水防液化抗滑桩及施工方法,属于边坡支挡技术领域,由钢管混凝土桩、钢筋混凝土底墩、环形集水铁箱、透水混凝土筒桩、反滤网、抽水管和手提抽水泵组成;环形集水铁箱套在钢管混凝土桩外,放置于钢筋混凝土底墩上,环形集水铁箱再浇筑透水混凝土筒桩;反滤网套入透水混凝土筒桩;抽水管预埋在透水混凝土筒桩内,且插入环形集水铁箱底部;手提抽水泵安装在桩体顶部,与抽水管连接。该抗滑桩可预制可现浇,刚度大,抗剪能力强,承载力高;桩的构造及所用材料,可以收集并排出下渗的地表水,减轻地下水位上升对边坡稳定的不利影响,并且能够在地震工况下起到防止桩周土体发生液化的作用;施工方法简便,工程造价低廉。
