专利号:CN201710886671.6
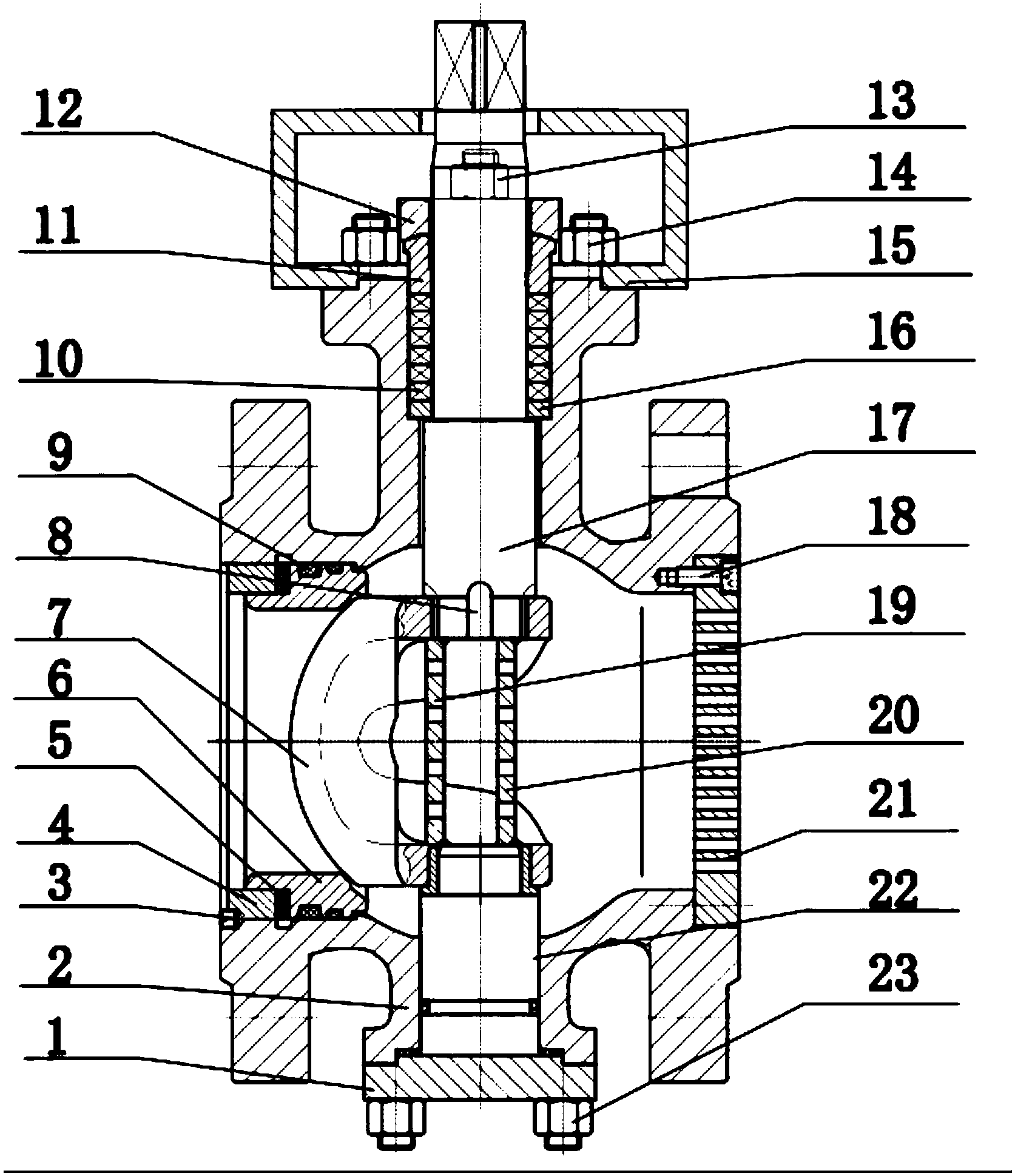
摘要:一种带组合孔板的消声V型球阀,碟型弹簧压盖4通过碟形预紧弹簧5压紧阀座支撑圈6,阀体2与阀座支撑圈6之间由O型密封圈9进行密封,阀杆17通过花键8带动阀芯7转动,阀芯7与阀座支撑圈6接触形成密封面,螺栓螺母部件13将填料压盖12与阀体2压紧在一起,填料压盖12通过填料轴套11将填料10压紧,螺栓螺母部件14将支撑架15与阀体2压紧在一起,填料垫片16将填料10与阀杆17隔离,阀芯7内部焊接有降压孔板19以及降压孔板20,内六角螺钉18将消声孔板21与阀体2紧固在一起,螺栓螺母部件23将底座压盖1紧固在阀体2上,阀芯7工作时底部绕阀芯旋转轴22转动。
