专利号:CN201721474610.0
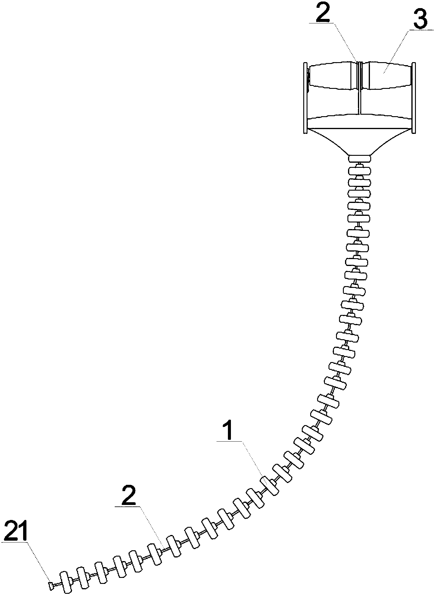
摘要:本实用新型涉及杆件技术领域,尤其是涉及一种可变杆件。其特点是包括通过无弹性绳索串连的多个硬质体,无弹性绳索的一端与拉紧锁止装置链接,无弹性绳索的另一端设置有端头。其通过拉紧锁止装置将无弹性绳索拉紧,若干硬质体的平行外立面挤紧,硬质体与拉紧锁止装置接合面挤紧,硬质体上所设的凸起和凹槽契合,将拉紧锁止装置上的锁止装置锁止后,形成直杆。反之,将锁止装置放开后,串在无弹性绳索上的若干硬质体的平行外立面之间产生间隙,可形成自由弯曲杆。其实现杆件曲与直、柔与硬的转换,结构简单,易于生产,操作便利,使用范围广泛。
