专利号:CN201820417843.5
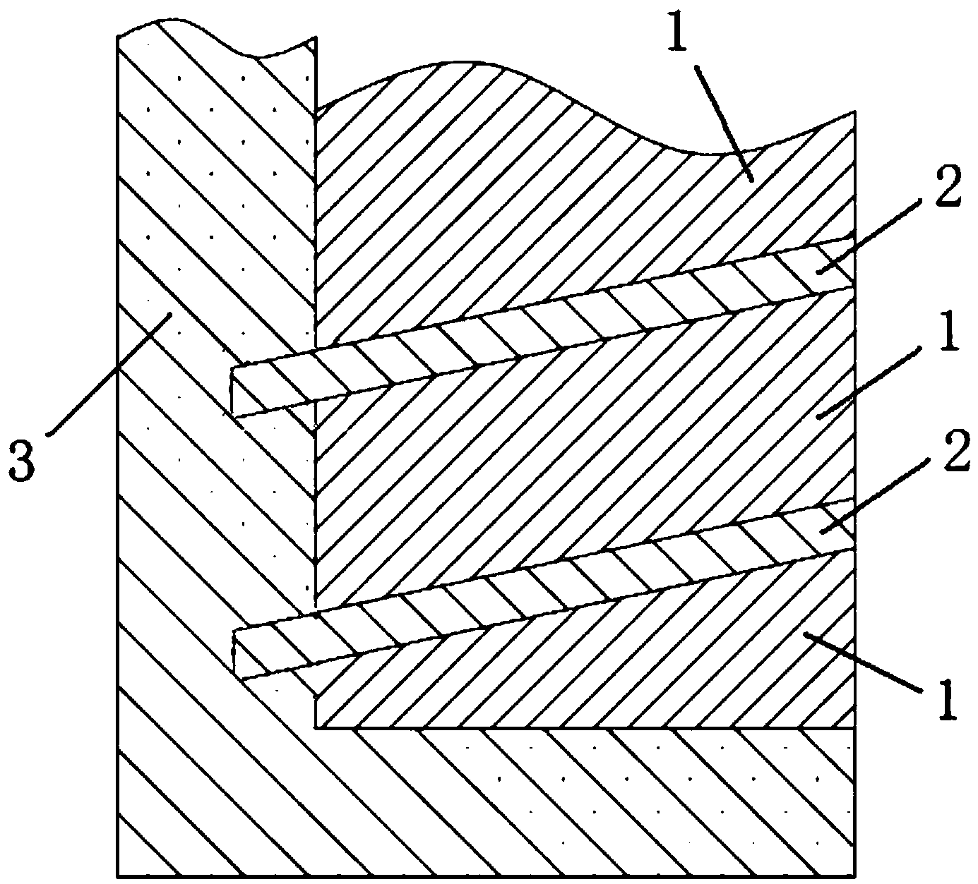
摘要:本实用新型属于土遗址加固技术领域,具体涉及一种用于土遗址裂隙修复的注浆结石体。为了解决采用目前的常规方法进行土遗址裂隙修复时,形成的注浆结石体与裂隙两侧土体壁面存在干缩分异、粘结不够牢固的问题,本实用新型公开了一种用于土遗址裂隙修复的注浆结石体。该注浆结石体为复合体结构,包括基体和膨胀体;其中,所述基体与所述膨胀体直接接触,并且裂隙两侧的土体直接与所述基体接触,所述膨胀体具有膨胀性。采用本实用新型结构的注浆结石体对土遗址裂隙进行浇筑修复,可以大幅度提高注浆结石体与裂隙两侧土体壁面粘结的牢固性,获得良好的修复效果。
