专利号:CN201820702587.4
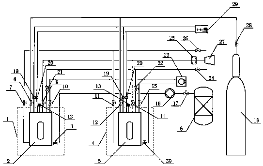
摘要:本实用新型公开了一种气体水合物法海水淡化系统,本实用新型第一反应釜和第二反应釜之间实现了气体的循环利用,可以对海水生成气体水合物,进而生成淡化水,实现海水的淡化,极大地提高了海水淡化程度。同时,在管路系统上设置有增压系统,可通过活塞增压系统调节气体水合反应系统压力,进而提高海水淡化效率。概括地说,本实用新型通过气体和海水生成气体水合物,再将气体水合物分解后得到淡化水,进而实现海水淡化的目的,采用本方案能够极大地提高海水的淡化效果,降低成本,具有推广应用的价值。
