专利号:CN201810542414.5
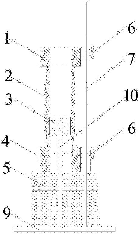
摘要:本发明涉及一种静压法三轴试样制备装置及方法,所述装置包括饱和器、压样活塞以及饱和器底板,还包括模具架和垫块,所述模具架包括模具架底座,其上设有模具架拉杆和用于固定支撑饱和器底板的固定杆,分别与饱和器的上下端配合组装的模具架上环和模具架底板可固定于模具架拉杆的任意高度位置、且模具架上环和模具架底板设有与饱和器内径相等的通孔,所述压样活塞上还设有直径大于模具架上环通孔直径的环形凸台。本发明通过增加或减少垫块的数量控制饱和器中可装入土的深度,实现均等地加深饱和器的深度,并用设有环形凸台的压样活塞静压,消除了人为因素造成的土面倾斜和各层厚度不等的缺点,提高了整个样品的均匀性与可靠性。
