专利号:CN201810542416.4
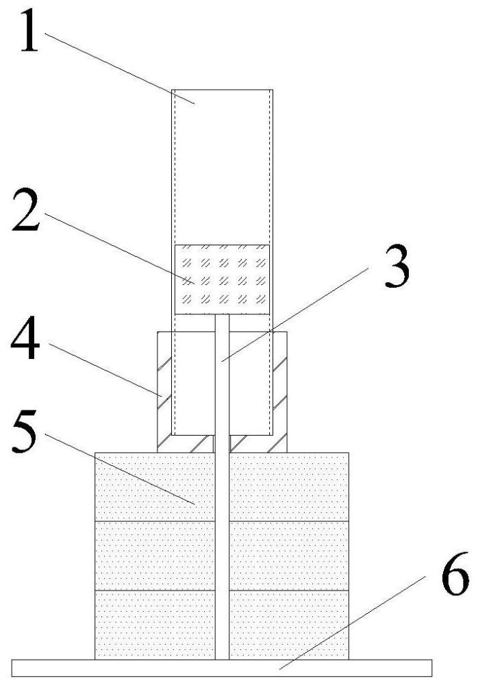
摘要:本发明涉及一种固结法三轴试样制备装置及方法,所述装置包括圆柱形的固结筒、直径与固结筒内径配合的圆柱形固结筒底板和固结筒顶盖,所述制备装置还包括用于改变固结筒底板与固结筒相对位置的垫块、固定架以及搅拌棒,所述固结筒的下端位于其内径与固结筒外径配合的固结筒套筒中,所述固结筒底板由贯穿固结筒套筒和垫块的固定杆固定于底座上。本发明一方面通过在固定杆上增加或减少垫块的数量来控制固结筒与固结筒底板的相对位置,实现均等地加深固结筒的深度,减少每次加入泥浆的差量;另一方面,通过搅拌棒的分层、分次充分搅拌,缩短了气泡排出的距离,极大限度地降低了泥浆内封闭的气泡,从而增加了整个试样的均匀性与可靠性。
