专利号:CN201910332369.5
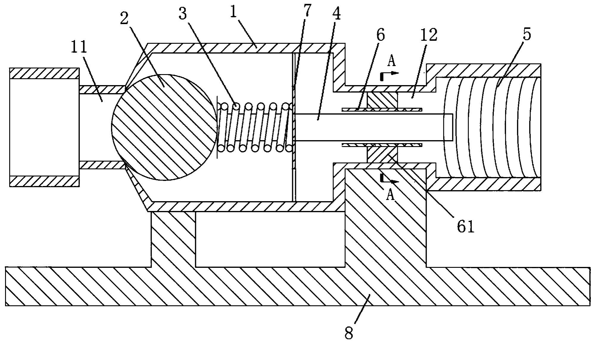
摘要:本发明属于发电设备技术领域。为了解决偏远地区采用远程供电的方式进行用电时,存在用电成本高的问题,本发明公开了一种基于电磁感应的发电装置。该发电装置,包括壳体、阀芯、弹性件、磁体和线圈;其中,壳体为中空结构,包括进口和出口;阀芯位于壳体内部,并且与进口形成单向阀结构,用于对进口进行开启和封堵;弹性件位于壳体内部,一端与所述阀芯连接,另一端与所述壳体保持固定连接,并且在预紧力作用下使阀芯对进口进行封堵;线圈缠绕固定在出口的下游位置,磁体的一端与阀芯连接,另一端穿过出口延伸至线圈内,并且在阀芯的带动下相对于线圈进行轴向往复移动。本发明的发电装置可以实现偏远地区的就地自主供电,降低用电成本。
