专利号:CN201910331875.2
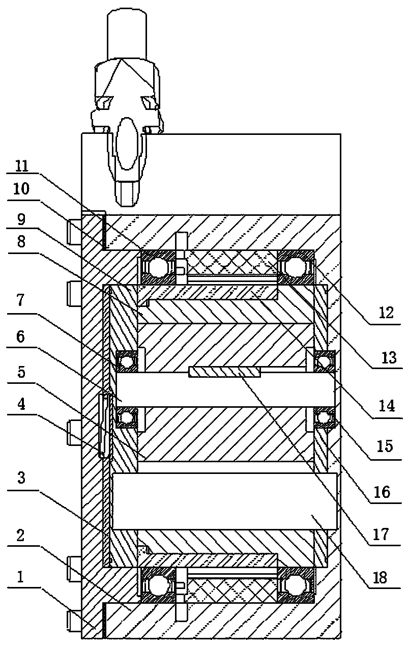
摘要:一种复合式齿轮马达发电机,小齿轮(5)通过圆键(17)与小齿轮轴(6)连接,小齿轮(5)和内齿轮(8)之间安装有月牙体(18),马达盖板(1)与挡板(3)之间装有弹簧(4),挡板(3)与马达侧板(9)直接接触,能够实现马达侧板(9)、马达侧板(16)对内齿轮(8)与小齿轮(5)的压紧作用,小齿轮轴(6)通过小轴承(7)、小轴承(15)支撑在马达侧板(9)、马达侧板(16)与壳体(2)上,内齿轮(8)通过大轴承(11)、大轴承(12)支撑在壳体(2)上,发电组件中线圈(13)安装在大轴承(11)、大轴承(12)之间与壳体(2)固定,永磁体(14)与内齿轮(8)固定。
