专利号:CN201911134321.X
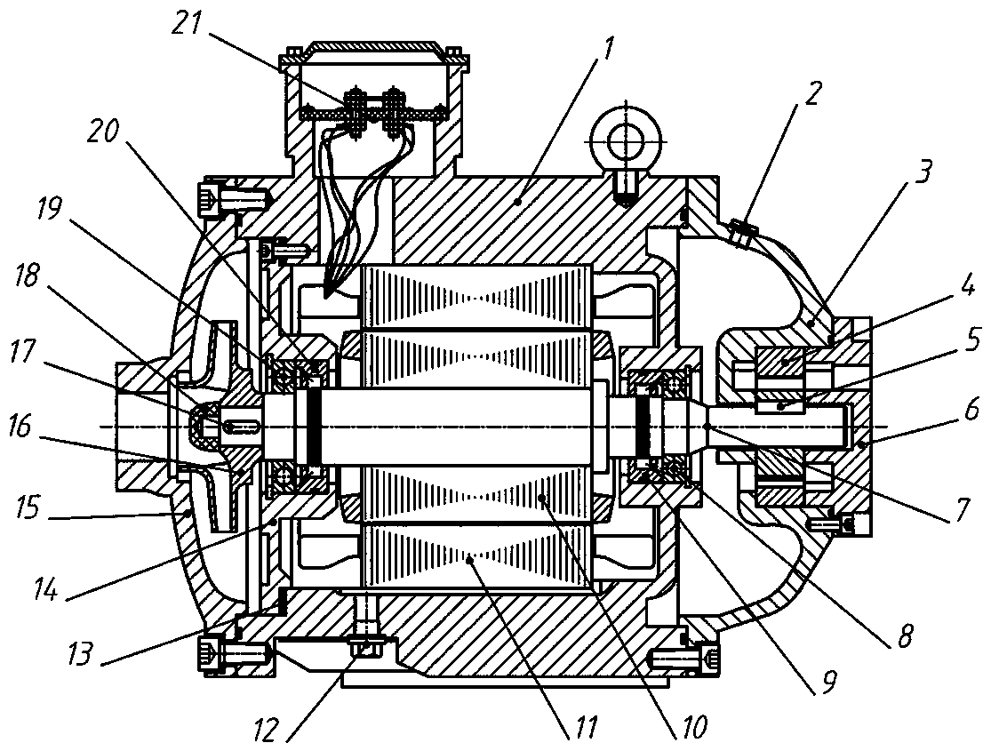
摘要:进口带叶轮增压供液的液压电机齿轮泵,是电机、离心泵叶轮和齿轮泵的一体化集成体,进油口设置叶轮,油液经增压后到达齿轮泵吸油口,很好的改善了齿轮泵的吸油不足问题,特别在较高转速时,齿轮泵吸油效率的提升更为明显,同时也避免了因吸油不足产生的气穴噪声;电机转子(10)通过过盈配合安装在主轴(7)上,以第一轴承(8)和第二轴承(19)支撑在壳体(1)上,齿轮组(4)安装在前端盖(3)上,通过第一平键(5)与主轴(7)相连,叶轮(16)设置在后端盖(15)和内端盖(14)之间,并用第二平键(17)与主轴(7)连接,主轴(7)两端由第一密封件(9)和第二密封件(20)密封。
