专利号:CN201910872068.1
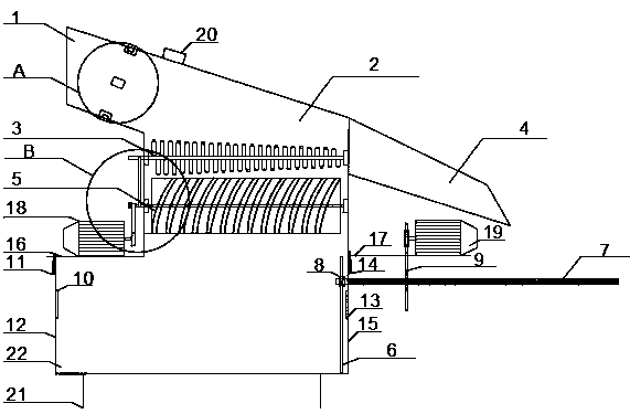
摘要:本发明涉及一种玉米脱皮秸秆压缩一体机,该一体机包括外壳及置于外壳内的齿口渐变脱皮辊、带肋橡胶脱皮挤压辊、压缩腔。外壳上设进料口、玉米出料口、控制器、第一及第二电动机、第一及第二压缩块出料口开关、第一及第二压缩块出料口;第一电动机与带肋橡胶脱皮挤压辊、齿口渐变脱皮辊相连;第一及第二电动机与控制器相连;带肋橡胶脱皮挤压辊的上方设齿口渐变脱皮辊,下方设压缩腔;齿口渐变脱皮辊的上方设进料口,该进料口四周设带防护罩的红外线感应器;压缩腔内设第一、第二压力传感器转换开关;压缩腔内设压力板,该压力板连有螺旋移动杆;螺旋移动杆上设与第二电动机相连的内螺旋齿轮。本发明还公开了其使用方法。本发明省时省力,效率高。
